Industrial Pressure Sensor PC13-Ⅱ
Features
■With constant current and constant voltage excitation options
■Imported highly reliable pressure die
■Wide temperature compensation
■Normalized output available
■Compensation board filled with glue for protection against moisture
■All 316L material
■High performance, all solid, high reliability
■18 months warranty period
Applications
■ Process control systems
■ Refrigeration equipment and HVAC control
■ Hydraulic systems and valves
■ Level measurement
■ Biomedical instruments
■ Ships and navigation
■ Aircraft and avionics systems
Product Parameters
Product overview
PC13 piezoresistive silicon pressure sensor is the core component for the manufacture of pressure sensors and pressure transmitters. As high-performance pressure sensitive component,
PC13 can be easily amplified and assembled into the pressure transmitters with standard signal output.
PC13 packages diffused silicon pressure sensitive die to 316L stainless steel housing. External pressure is transmitted to pressure sensitive die through stainless steel diaphragm and internally sealed silicon oil. Pressure sensitive die does not directly contact with measured medium, forming all solid structure of pressure measurement. So the product can be applied to a variety of occasions, including harsh corrosive medium environment.
Electrical performance parameters | ||
Pressure range | 6MPa…60MPa | |
Pressure reference | Sealed gauge pressure | |
Excitation | 1.5mA recommended for constant current 10V recommended for constant voltage | |
Input impedance | Constant current: 2kΩ~5kΩ Constant voltage: 3kΩ~18kΩ | |
Electrical connection | Gold-plated KOVAR pin or silicon soft wire | |
Compensation temp. | Constant current: -10℃~70℃ | |
Operating temp. | -40℃~125℃ | |
Storage temp. | -40℃~125℃ | |
Insulation resistance | ≥200MΩ/250VDC | |
Response time | ≤1ms (up to 90%FS) | |
Measured medium | All the liquids and gases compatible with 316L. | |
Mechanical vibration | 20g (20~5000Hz) | |
Shock | 100g (10ms) | |
Service life | 10×106 (cycles) | |
Structural performance parameters | ||
Diaphragm material | 316L | |
Housing material | 316L | |
Oil filling | Silicon oil | |
Sealing ring | Fluorine rubber | |
Basic parameters | |||||||
Item | Condition | Min | Nominal | Max | Unit | Note | |
Nonlinearity | -0.3 | ±0.2 | 0.3 | %FS | Note⑴ | ||
Hysteresis | -0.05 | ±0.03 | 0.05 | %FS | |||
Repeatability | -0.05 | ±0.03 | 0.05 | %FS | |||
Zero output | -2 | ±1 | 2 | mV | |||
Full scale span output | 1.5mA 10V | 60 80 | 90 100 | 150 120 | mV | ||
Zero temp. coefficient | -1.5 | ±0.75 | 1.5 | %FS | Note(1) | ||
Sensitivity temp. coefficient | -1.5 | ±1.0 | 1.5 | %FS | Note⑵ | ||
Thermal hysteresis | -0.075 | ±0.05 | 0.075 | %FS | Note⑶ | ||
Long term stability | -0.3 | ±0.2 | 0.3 | %FS/Year | |||
Note:
(1) Calculate according to BFSL least square method.
(2) In the compensation temperature range, refer to 30 ℃ for -10 ℃ ~ 70 ℃
(3) After passing high and low temperature, return to the reference temperature.
Structure and dimensions |
In mm
1. PC13I 2. PC13 II
Sealed gauge pressure
| Sealed gauge pressure
|
| ![]()
|
Electrical connection (in mm) |
1. PC13I 5pins (5p) with constant-current excitation
Please confirm with the technician for the details of constant-voltage excitation.
| Pin Definition 3 Excitation +(IN+) 1 or 5 Excitation -(IN-) 2 Output +(OUT+) 4 Output -(OUT-)
|
Electrical connection (in mm) (cont.) |
2. PC13I 4wires (4w)
| Wire color Definition Red Excitation+(IN+) Blue Excitation-(IN-) Yellow Output+(OUT+) White Output-(OUT-) |
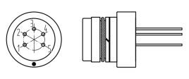
3. PC13II 5pins (5p) with constant-current excitation
Please confirm with the technician for the details of constant-voltage excitation.
| Pin Definition 3 Excitation+(IN+) 1 or 5 Excitation-(IN-) 2 Output+(OUT+) 4 Output-(OUT-)
|
4. PC13II 4wires (4w) | |
| Pin Definition Red Excitation+(IN+) Blue Excitation-(IN-) Yellow Output+(OUT+) White Output- (OUT-) |
Production process





Testing Equipment




Certificate

Company profile

Nanjing Wotian Technology Co., Ltd. was established in 2005. It is an outstanding top sensor mkanufacturing enterprise in Jiangning District. The company was rated as Nanjing Engineering Technology Research Center and Nanjing. Municipal Engineering Research Center, Nanjing Enterprise Technology Center, Nanjing Postdoctoral Innovation Demonstration Base; is the unit that formulated the national standards for "Silicon Piezoresistive Pressure Sensitive Chips" and "Silicone Pressure Sensors". It is the leading domestic manufacturer of pressure sensors, with core technology of diffused silicon pressure sensor pressure transmitter, level sensor and temperature sensor and existing staff 305. The annual production of pressure sensors is more than 2 million. The products have been exported to more than 70 countries and regions. Nanjing Wotian was awarded the honorary title of "Sensor Application Program Demonstration Enterprise" by the Ministry of Industry and Information Technology in 2019. "Creating value for customers" is the goal that enterprises always pursue. As leading manufacturer in the domestic pressure sensor industry, the company will revitalize China's pressure sensor business as its own responsibility, work diligently, step by step, strive to make pressure sensors better, and provide customers with cost-effective sensors. Nanjing Wotian Technology Co., Ltd. has passed ISO9001-2015 quality management system certification and TS16949 certification for the automotive industry.
Company advantage
Mass production
We have one production center in Nanjing and one production center in Anshan with 20,000㎡plant and 170 units of production equipments. The main annual capacity of sensors is about 2,000,000 pieces.
Imported equipments
We imported 20 sets of pressure controller and 150 units of testing ovens to our production line.
Informatization management
We have the information management system of CRM, PLM, ERP, MES and DINGDING etc.
Comprehensive testing
We have our own lab and testing equipment such as lightning stroke, surging, static electricity, vibration, high-low temperature impact test and helium mass-spectrum leak detection.




















